강관용
페이지 정보
분류 작성자 관리자
조회hit 16회
작성일 2026-03-06 11:13
본문
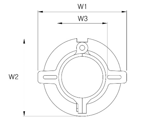
| 구분 | W1 | W2 | W3 |
|---|---|---|---|
| 100A | 247 | 213 | 140 |
| 75A | 236 | 196 | 106 |
| 50A | 220 | 180 | 80 |
| 40A | 221 | 180 | 80 |
| 32A | 221 | 180 | 80 |
| 25A | 221 | 180 | 80 |
| 20A | 221 | 180 | 80 |

